※ 产品名称:衬氟隔膜阀
※ 产品型号:G41F46-16C
※ 产品规格:DN15-250
※ 壳体材质:碳钢、304、316L
※ 衬里材质:FEP(F46)、PFA
一、概述
该产品采用特殊工艺在阀体上包衬PFA/FEP,隔膜件采用PFA/FEP和EPDM,使阀门内腔的各个零部件达到相同的腐蚀性能。该产品具有良好的节流特性,耐腐蚀性和颗粒介质性,密封性能可靠,可广泛用于各种腐蚀流体以及纤维状,粉末状介质。
二、产品特点
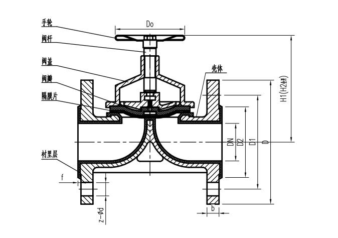
隔膜把下部阀体内腔与上部阀盖内腔隔开,使位于隔膜上方的阀杆、阀瓣等零件不受介质腐蚀。
特点:隔膜把下部阀体内腔与上部阀盖内腔隔开,使位于隔膜上方的阀杆、阀瓣等零件不受介质腐蚀,省去了填料密封结构,且不会产生介质外漏。
设计标准 | HG/T3704,GB/T 12239 | MSS-SF-88 | |||
结构长度 | HG/T 3704,GB/T 12221 | EN 558-1 | |||
法兰形式尺寸 | HG/T 20592,GB/T 9119. | ASME B16.5,JIS B2220 | |||
检验与试验 | GB/T 13927,JB/T 9092 | API598 | |||
公称压力(MPa) | 0.6 | 1.0 | 1.6 | 150LB | |
实验压力 | 壳体试压 | 0.9 | 1.5 | 1.5 | 1.5 |
高压密封 | 0.66 | 1.1 | 1.1 | 1.1 | |
低压密封 | 0.6 | 0.6 | 0.6 | 0.6 | |
适用温度(°C) | PFA:-30~200 FEP:-30~150 GXPO:-10~80 | ||||
适用介质 | 盐酸、硝酸、氢氟酸、液氯、硫酸、王水等强腐蚀性介质 | ||||
基本型号 | |||
手 | G41F4(堰式) | 气 | G641G4 (往复式) |
G41F46(堰式) | G641F46 (往复式) | ||
G45F4 (直流式 ) | G6B45F4 (常闭式) | ||
电 | G45F46 (直流式) | 电 | G6B45F46(常闭式) |
G9B41F4(防爆式) | G945F4(普通式) | ||
G9B41F46(防爆式) | G945F46(普通式) | ||
零件名称 | 精铸球墨铸铁 | 碳钢 | 不锈钢 | |||
QT | C | P | R | PL | RL | |
阀体、阀盖、阀瓣 | QT400 | WCB | CF8 | CF8M | CF3 | CF3M |
阀杆 | 2Cr13 | 2Cr13 | CF8 | CF8M | CF3 | CF3M |
衬里层 | FEP(F46)、PTFE(F4)、PFA(可溶性聚四氟乙烯)、PO(聚烯烃)、PE(超高分子量聚乙烯) | |||||
隔膜 | ZcuA110Fe3 | |||||
阀杆螺母 | FEP(F46)、CR(氯丁橡胶)、PFA(可溶性聚四氟乙烯)、FPDM(乙丙橡胶) | |||||
螺栓 | 35 | 35 | 1Cr17Ni2 | 1Cr17Ni2 | 1Cr18Ni9 | 1Cr18Ni9 |
螺母 | 45 | 45 | 0Cr18Ni9 | 0Cr18Ni9 | 0Cr18Ni9 | 0Cr18Ni9 |
手轮 | A3 | |||||




公称直径 | 标准值 | 参考值 | ||||||||||
DN | NPS | L | D | D1 | D2 | f | b | Z-Фd | Do | H1 | H2 | W(kg) |
PN 0.6 (MPa) | ||||||||||||
15 | 1/2 | 125/108 | 80 | 55 | 40 | 2 | 12 | 4-Ф12 | 100 | 105 | 110 | 3.5 |
20 | 3/4 | 135/117 | 90 | 65 | 50 | 2 | 14 | 4-Ф12 | 100 | 115 | 125 | 4 |
25 | 1 | 145/127 | 100 | 75 | 60 | 2 | 14 | 4-Ф12 | 120 | 120 | 135 | 5.5 |
32 | 11/4 | 160/146 | 120 | 90 | 70 | 2 | 16 | 4-Ф14 | 120 | 125 | 150 | 8 |
40 | 11/2 | 180/159 | 130 | 100 | 80 | 3 | 16 | 4-Ф14 | 140 | 135 | 175 | 11 |
50 | 2 | 210/190 | 140 | 110 | 90 | 3 | 16 | 4-Ф14 | 140 | 155 | 195 | 14 |
65 | 21/2 | 250/216 | 160 | 130 | 110 | 3 | 16 | 4-Ф14 | 200 | 170 | 200 | 23 |
80 | 3 | 300/254 | 185 | 150 | 125 | 3 | 18 | 4-Ф18 | 200 | 200 | 255 | 29 |
100 | 4 | 350/305 | 205 | 170 | 145 | 3 | 18 | 4-Ф18 | 280 | 270 | 325 | 46 |
125 | 5 | 400/356 | 235 | 200 | 175 | 3 | 20 | 8-Ф18 | 320 | 335 | 405 | 70 |
150 | 6 | 460/406 | 260 | 225 | 200 | 3 | 20 | 8-Ф18 | 320 | 370 | 450 | 95 |
200 | 8 | 570/521 | 315 | 280 | 255 | 3 | 22 | 8-Ф18 | 400 | 480 | 600 | 170 |
250 | 10 | 680/635 | 370 | 335 | 310 | 3 | 24 | 12-Ф18 | 500 | 545 | 620 | 270 |
300 | 12 | 790/749 | 435 | 395 | 362 | 4 | 24 | 12-Ф23 | 500 | 585 | 680 | 320 |
公称直径 | 标准值 | 参考值 | ||||||||||
DN | NPS | L | D | D1 | D2 | f | b | Z-Фd | Do | H1 | H2 | W(kg) |
PN 1.0 (MPa) | ||||||||||||
15 | 1/2 | 125/108 | 95 | 65 | 45 | 2 | 14 | 4-Ф14 | 100 | 105 | 110 | 3.5 |
20 | 3/4 | 135/117 | 105 | 75 | 55 | 2 | 16 | 4-Ф14 | 100 | 115 | 125 | 4 |
25 | 1 | 145/127 | 115 | 85 | 65 | 2 | 16 | 4-Ф14 | 120 | 120 | 135 | 5.5 |
32 | 11/4 | 160/146 | 135 | 100 | 78 | 2 | 18 | 4-Ф18 | 120 | 125 | 150 | 8 |
40 | 11/2 | 180/159 | 145 | 110 | 85 | 3 | 18 | 4-Ф18 | 140 | 135 | 175 | 11 |
50 | 2 | 210/190 | 160 | 125 | 100 | 3 | 20 | 4-Ф18 | 140 | 155 | 195 | 14 |
65 | 21/2 | 250/216 | 180 | 145 | 120 | 3 | 20 | 8-Ф18 | 200 | 170 | 200 | 23 |
80 | 3 | 300/254 | 195 | 160 | 135 | 3 | 22 | 8-Ф18 | 200 | 200 | 255 | 29 |
100 | 4 | 350/305 | 215 | 180 | 155 | 3 | 22 | 8-Ф18 | 280 | 270 | 325 | 46 |
125 | 5 | 400/356 | 245 | 210 | 185 | 3 | 24 | 8-Ф18 | 320 | 335 | 405 | 70 |
150 | 6 | 460/406 | 280 | 240 | 210 | 3 | 24 | 8-Ф23 | 320 | 370 | 450 | 95 |
200 | 8 | 570/521 | 335 | 295 | 265 | 3 | 26 | 8-Ф23 | 400 | 480 | 600 | 170 |
250 | 10 | 680/635 | 390 | 350 | 320 | 3 | 28 | 12-Ф23 | 500 | 545 | 620 | 270 |
300 | 12 | 790/749 | 440 | 400 | 368 | 4 | 28 | 12-Ф23 | 500 | 585 | 680 | 320 |
公称直径 | 标准值 | 参考值 | ||||||||||
DN | NPS | L | D | D1 | D2 | f | b | Z-Фd | Do | H1 | H2 | W(kg) |
PN 1.6 (MPa) | ||||||||||||
15 | 1/2 | 130 | 95 | 65 | 45 | 2 | 14 | 4-Ф14 | 120 | 115 | 115 | 4 |
20 | 3/4 | 150 | 105 | 75 | 55 | 2 | 16 | 4-Ф14 | 120 | 130 | 130 | 5 |
25 | 1 | 160 | 115 | 85 | 65 | 2 | 16 | 4-Ф14 | 140 | 140 | 140 | 6 |
32 | 11/4 | 180 | 135 | 100 | 78 | 2 | 18 | 4-Ф18 | 140 | 155 | 155 | 9 |
40 | 11/2 | 200 | 145 | 110 | 85 | 3 | 18 | 4-Ф18 | 160 | 180 | 180 | 12 |
50 | 2 | 230 | 160 | 125 | 100 | 3 | 20 | 4-Ф18 | 160 | 200 | 200 | 15 |
65 | 21/2 | 290 | 180 | 145 | 120 | 3 | 20 | 8-Ф18 | 200 | 205 | 205 | 24 |
80 | 3 | 310 | 195 | 160 | 135 | 3 | 22 | 8-Ф18 | 200 | 260 | 260 | 30 |
100 | 4 | 350 | 215 | 180 | 155 | 3 | 24 | 8-Ф18 | 280 | 330 | 330 | 48 |
125 | 5 | 400 | 245 | 210 | 185 | 3 | 26 | 8-Ф18 | 320 | 410 | 410 | 75 |
150 | 6 | 480 | 280 | 240 | 210 | 3 | 28 | 8-Ф23 | 320 | 460 | 460 | 105 |
200 | 8 | 600 | 335 | 295 | 265 | 3 | 30 | 12-Ф23 | 400 | 605 | 605 | 182 |
250 | 10 | 730 | 405 | 355 | 320 | 3 | 32 | 12-Ф25 | 500 | 625 | 625 | 295 |
300 | 12 | 850 | 460 | 410 | 375 | 4 | 34 | 12-Ф25 | 500 | 685 | 685 | 345 |